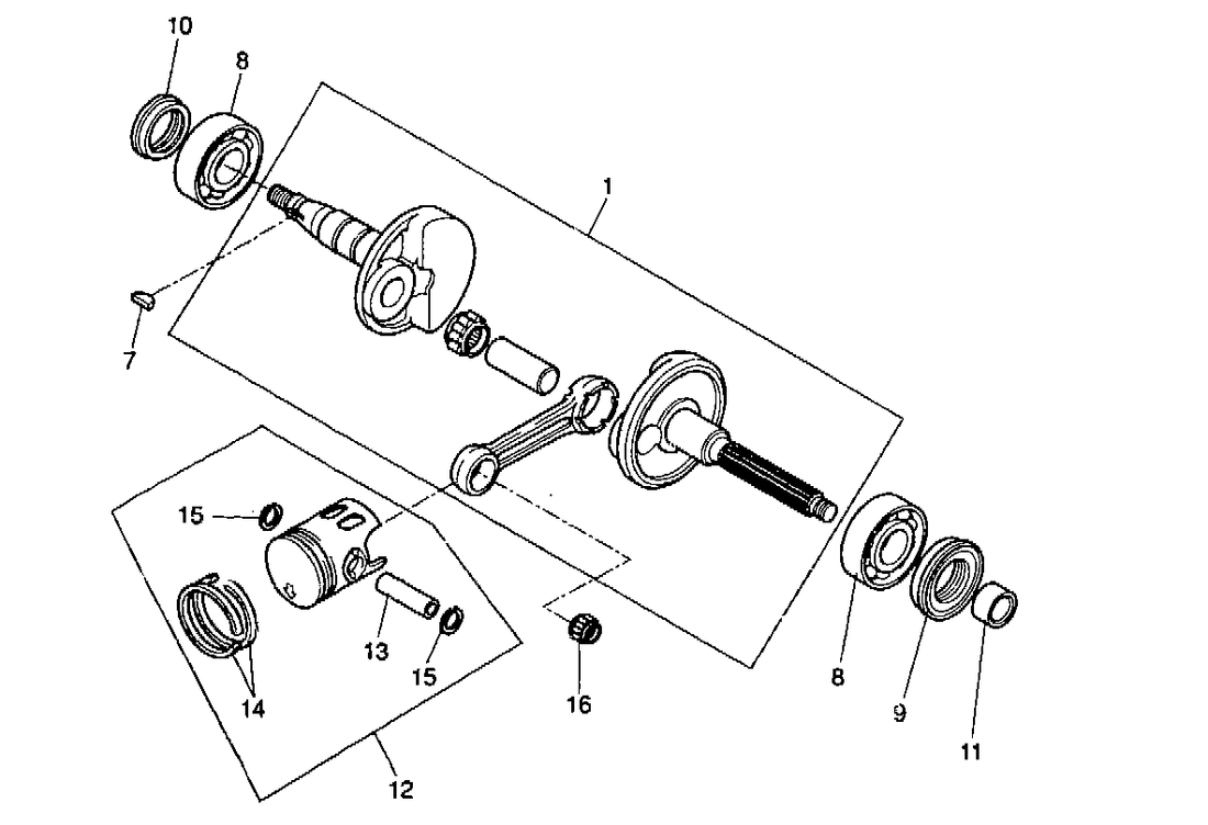
Yamaha Aerox 50 R – Krukas Zuiger
Er zijn nog geen producten gekoppeld aan deze tekening.
Andere tekeningen voor Yamaha Aerox 50 R
Achterlicht
Achterwiel
Benzinetank
Bobine Cdi Unit Accu
Carburateur
Carter
Cilinder
Frame
Hoofdremcilinder Voor
Kilometerteller
Knipperlicht
Koplamp Knipperlicht Voor
Koppeling
Krukas Zuiger
Oliepomp
Olietank
Ontsteking
Radiateur
Regelaar Claxon Contactslot
Remklauw Achter
Remklauw Voor
Rempomp Rempedaal
Schakelaars
Schokbreker Achter
Spatborden
Startsysteem
Stuur Gaskabel
Stuurkap Spiegel
Toevoer Luchtfilter
Transmissie
Treeplank Standaard
Uitlaat
Voorscherm Binnenbekleding Onderschermbeplating
Voorwiel
Vork
Waterpomp
Zadel
Zijscherm
×